annavlas
annavlas
неактивный пользователь форума, который редко посещает платформу, участвует в обсуждениях и делится советами
annavlas
неактивный пользователь форума, который редко посещает платформу, участвует в обсуждениях и делится советами
Активный участник
- Регистрация
- 16.06.2025
- Сообщения
- 23
- Реакции
- 5
Приветствую всех!
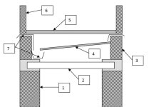
Планирую в новом сезоне построить двухэтажный дом размером около 8х4 метра с плоской эксплуатируемой крышей. Материалы выбраны: пеноблок D600 (толщина стен 300 мм), перекрытия двутавр, но окончательно не решил, заполнять ли пустоты бетоном или утеплять деревянным способом.
Интересует мнение о такой идее кровли:

Чердак для сохранения тепла между крышей и потолком второго этажа. Пеноблоки толщиной 200 мм выполняют роль стенок поддержки настила. Между настилом и поддерживающими конструкциями устраиваю систему водоотведения. Желоба основного водостока будут металлические, а вот материал для промежуточных секций пока под вопросом. Планирую создать настил из палубной доски с небольшим промежутком между досками, чтобы обеспечивать доступ к кровле и чистить водостоки.
Поделитесь мыслями и предложениями касательно такого решения, буду признателен!
Планирую в новом сезоне построить двухэтажный дом размером около 8х4 метра с плоской эксплуатируемой крышей. Материалы выбраны: пеноблок D600 (толщина стен 300 мм), перекрытия двутавр, но окончательно не решил, заполнять ли пустоты бетоном или утеплять деревянным способом.
Интересует мнение о такой идее кровли:

Чердак для сохранения тепла между крышей и потолком второго этажа. Пеноблоки толщиной 200 мм выполняют роль стенок поддержки настила. Между настилом и поддерживающими конструкциями устраиваю систему водоотведения. Желоба основного водостока будут металлические, а вот материал для промежуточных секций пока под вопросом. Планирую создать настил из палубной доски с небольшим промежутком между досками, чтобы обеспечивать доступ к кровле и чистить водостоки.
Поделитесь мыслями и предложениями касательно такого решения, буду признателен!